+
  • 3.jpg

SF6气体全绝缘环网开关设备


UN3-36、40.5-630-25-31.5 KA系列气体全绝缘环网柜,按照GB和IEC标准要求设计和生产,采用全维缘全密封结构,适用于污秽、盐雾、潮湿和高海拔等恶劣环境,多种方案满足更苛刻的要求。
应用于
. 33、35kV 电压组网的海上、陆上风力发电箱变;
. 33、35kV 电压组网的海上、陆上储能和光伏箱变;
. 33、35kV 电压组网的变、配电环网箱。

所属分类

产品中心


▎产品特点


· 本产品是按照GB 和 IEC 标准要求设计、生产的;
· 采用真空灭弧、SF6 气体全绝缘的结构设计制造;
· 气箱防护等级达到IP67, 安装过程和寿命周期内无故障不充/补气;
· 产品满足海拔5000米及以下要求;
· 适合在有工业污秽、盐雾和潮湿的环境中运行,陆上满足C3, 海上满足C4。
 

 

▎使用环境条件


. 海拔高度:≤5000m (当设备运行海拔超出2000m 时,需要特别注明);
. 环境温度:最高气温+50℃,最低气温-50℃,24h内平均值≤35℃;
. 环境湿度:24h相对湿度平均值≤95%;月相对湿度平均值≤90%;
. 电磁干扰:在二次系统中感应出的电磁干扰幅值≤1.6kV;
. 安装环境:周围空气中没有爆炸性和腐蚀性气体,安装场所无经常性剧烈震动或冲击。
. 注:超出上述使用环境条件时,请与我公司协商定制。

 


▎适用标准


. IEC  62271-1:2017与GB/T11022-2020       高压开关设备和控制设备标准的共用技术要求
. IEC62271-200:2011   与GB/T3906-20203.6kV~40.5kV        交流金属封闭开关设备和控制设备
. IEC62271-100:2017    与GB/T1984-2014    交流高压断路器
. IEC   62271-105:2021与GB/T16926-2009        交流高压负荷开关-熔断器组合电器
. IEC16271-102:2001+A1:2011   与 GB/T1985-2014    高压交流隔离开关和接地开关
. IEC60529 与GB/T4208-2017   外壳防护等级(IP代码)
. GB/T11023-2018  高压开关设备六氟化硫气体密封试验方法
. DL/T402-2016   高压交流断路器订货技术条件
. DL/T486-2021   高压交流隔离开关和接地开关订货技术条件
. DL/T403-201712kV~40.5kV     高压真空断路器订货技术条件
. DL/T404-20183.6kV~40.5kV     交流金属封闭开关设备和控制设备
. DL/T593-2016   高压开关设备和控制设备标准的共用技术要求

 


▎回收再利用


0638太阳集团致力于环境保护,产品通过1S014001  国际环境管理体系认证,并严格执行该标准。 
回收及报废
UN3 系列开关柜的设计和制造符合国家标准GB/T3906 和国际标准IEC62271-200 的要求;在产 品生命周期结束时,根据相关标准规定对SF6 气体进行回收处理后再利用。
可持续发展
UN3 系列开关柜在制造过程中持续减少SF6 的使用量,在安装过程不使用SF6 气体;
产品全部采用100%可重复利用的材料;
提供自供电继电器及装置,避免额外能量消耗。

 


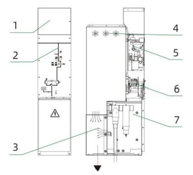
▎功能说明


1 、二次控制室:在开关柜前上部,防护等级可达IP4X。
2、模拟母线:正确指示一次回路接线方式。
3、泄压通道:泄压通道在开关柜底部,可实现气箱或电缆室产生的燃弧气体, 从柜底泄压通道向电缆沟泄压,确保操作人员安全。
4、母线连接:正常条作下额定电流满足630A 的1.1倍。
5、断路器及机构:断路器采用弹簧机构,有自动重合闸功能,可手动或电动 储能,可进行遥信、遥控和遥测。
6、隔离开关及机构:可手动或电动操作,可现场或远程控制。
7、 电缆连接及避雷器安装:从柜前安装与维护电缆及其附件,安装高度 600mm  或700mm,  适用于各种规格的单芯或三芯电缆的安装要求。

 


▎技术特性


GB/T 3906中定义的运行连续性等级

其它高压隔室或功能单元保持通电

LSC 1:服务连续性较低

 

LSC 1LSC 2

LSC 2:服务连续性更高

 

 

隔室之间隔板

PI:绝缘隔板

 

PI

PM

PM:金属接地隔板

 

 

绝缘和开断

主回路开断

 

 

真空断路器

开断介质

 

 

真空灭弧室

绝缘介质

 

 

SF6气体

相对充气压力

额定充气压力(20℃时表压)

MPa

0.04

最低充气压力(20℃时表压)

MPa

0.02

气体年相对漏气率

 

%/年

≤0.01

绝缘水平

额定电压

 

kV

36/40. 5

额定频率

 

Hz

50

 

额定绝缘水平

工频耐压(相间、对地、真空断口)

kV

70/95

工频耐压(隔离断口)

kV

80/118

工频耐压(辅助及控制回路)

kV

2

雷电冲击耐压(相间、对地、真空断口)

kV

170/185

雷电冲击耐压(隔离断口)

kV

195/215

电流水平

额定电流一母线

A

630

额定短路开断电流

kA

25/31.5

额定短路关合电流(主开关/接地开关)

kA

63/54. 3、80/69.6

短时耐受电流及持续时间(主回路+接地开关、接地连接)

kA/s25/4、 31.5/4

额定峰值耐受电流(主回路+接地开关、接地连接)

kA

63/80

内部燃弧故障耐受

A级

A FL  正面和侧面

kA

25/31.5

持续时间

S

1

外壳防护等级

特合GB/T4208标准外壳防护

一次带电气箱

 

IP67

电缆室

 

IP43

机构室

 

IP4X

低压室

 

IP4X

机械冲击防护等级

符合GB/T 20138的等级

 

IK07

其它特性

预期工作寿命

30

母线/接地母线(铜排)

 

120mm²

SF6气体全绝缘环网开关设备

UN7-72.5-630-1250-31.5kA气体全绝缘环网柜,按照GB和IEC标准要求设计和生产,采用全维缘全密封结构,适用于污秽、盐雾、潮湿和高海拔等恶劣环境,多种方案满足更苛刻的要求。<br> 应用于<br> . 66kV 电压组网的海上、陆上风力发电机舱变;<br> . 66kV 电压组网的海上、陆上储能和光伏箱变;<br> . 66kV 电压组网的变、配电环网供电场所。<br>

SF6气体全绝缘环网开关设备

UN3-36、40.5-1250-2500-3150A-31.5kA气体全绝缘环网柜,按照GB和IEC标准要求设计和生产,采用全维缘全密封结构,适用于污秽、盐雾、潮湿和高海拔等恶劣环境,多种方案满足更苛刻的要求。<br> 应用于<br> . 33、35kV 电压组网的海上、陆上风力发电升压站; . 33、35kV 电压组网的海上、陆上储能和光伏升压站; . 33、35kV 电压组网的变、配电升压或降压站。

SF6气体全绝缘环网开关设备

UN3-36、40.5-630-25-31.5 KA系列气体全绝缘环网柜,按照GB和IEC标准要求设计和生产,采用全维缘全密封结构,适用于污秽、盐雾、潮湿和高海拔等恶劣环境,多种方案满足更苛刻的要求。<br> 应用于<br> . 33、35kV 电压组网的海上、陆上风力发电箱变;<br> . 33、35kV 电压组网的海上、陆上储能和光伏箱变;<br> . 33、35kV 电压组网的变、配电环网箱。

SF6气体全绝缘环网开关设备

UN3-12、24-1250-2500-3150-31.5气体全绝缘环网柜,按照GB和IEC标准要求设计和生产,采用全维缘全密封结构,适用于污秽、盐雾、潮湿和高海拔等恶劣环境,多种方案满足更苛刻的要求。<br> 应用于<br> . 10、20kV 电压组网的海上、陆上风力发电升压站<br> . 10、20kV 电压组网的海上、陆上储能和光伏升压站<br> · 10、20kV 电压组网的变、配电升压或降压站<br>